4.1 Лабораторные установки дли углубленного экспериментального изучения сопротивления материалов с использованием реальных конструктивных элементов машин при подготовке инженеров-механиков в контексте компетентностного подхода в обучении
- Информация о материале
- Родительская категория: Главная
- Категория: Раздел 4 ТЕНЗОМЕТРИЧЕСКИЕ ЛАБОРАТОРИИ ПО СОПРОТИВЛЕНИЮ МАТЕРИАЛОВ ДЛЯ ВНЕДРЕНИЯ В УЧЕБНЫЙ ПРОЦЕСС С УЧЕТОМ ПРОФИЛЯ ПОДГОТОВКИ ИНЖЕНЕРНО-ТЕХНИЧЕСКИХ СПЕЦИАЛИСТОВ В КОНТЕКСТЕ КОМПЕТЕНТНОСТНОГО ПОДХОДА В ОБУЧЕНИИ
- Опубликовано: 24.11.2016 09:59
- Просмотров: 660
Дисциплина «Сопротивление материалов», изучаемая в вузах и средних специальных учебных заведениях, формирует компетенции, связанные с обеспечением прочности элементов конструкций, без которых невозможно создавать долговечные и высокопроизводительные машины, эффективно их эксплуатировать и надежно восстанавливать. При этом особенно важно приближение теоретических знаний к решению конкретных задач, характерных для практической деятельности будущих специалистов в контексте компетентностного подхода в обучении.
Для формирования компетенций специалиста представляется целесообразным использовать в качестве объектов экспериментальных исследований конкретные детали, элементы конструкций или конструкции в целом, заимствованных из области техники, строительства, технологий, где предстоит профессионально работать выпускнику вуза [67, 77, 90].
Отдельно рассмотрим тензометрические лабораторные установки, где определяются деформации и напряжения, возникающие при действии внешних сил в реальных несущих элементах, наиболее характерных для конструкций современных дорожно-строительных, сельскохозяйственных и других машин и механизмов, нефтегазового оборудования.
Определение усилий затяжки в болтовом соединении
В учебном процессе усилия затяжки в резьбовом соединении определяют, как правило, только теоретически. Однако наибольший интерес представляет экспериментальный метод, суть которого рассмотрим на примере устройства (рисунок 4.1), состоящего из основания 1, стоек 2 и 5, верхней плиты 3 и болтового соединения 4.

Рисунок 4.1 Устройство для определения усилия затяжки в резьбовом соединении
При навинчивании гайки с некоторым моментом в болте возникает усилие затяжки. Для его опытного определения в зависимости от внешнего момента на боковой поверхности болта параллельно оси наклеен рабочий тензодатчик РД, а на отдельной недеформируемой стальной пластинке - компенсационный тензодатчик КД. Оба датчика образуют внешний полумост, выводы которого подключены к измерителю деформации типа ЦТИ-1.
База тензодатчиков 20 мм, электрическое сопротивление 100 Ом. Сигналы рабочего датчика фиксируются до и после затяжки болта с определенным моментом. Умножая разность показаний на 10-6, находят относительную деформацию болта.
Напряжение в его поперечном сечении получают как произведение относительной деформации на модуль продольной упругости материала болта.
Усилие затяжки вычисляют умножением полученного напряжения на площадь поперечного сечения болта.
Определение напряжений в элементах клеммового соединения
В тракторах и дорожно-строительных машинах, в буровых установках применяют клеммовые соединения, надежность которых зависит от прочности болта 3 и клеммы 2 (рисунок 4.2). Оценить прочность этих элементов можно только по результатам экспериментального определения напряжений в них в момент затяжки болта, нагруженного силой F.
Для этого используют электротензометрический метод. Для определения относительной деформации ɛ1 болта от усилия затяжки на его наружной поверхности параллельно оси наклеивают рабочий тензодатчик РД1, а на недеформируемой стальной пластинке - компенсационный тензодатчик КД1 .

Рисунок 4.2 Клеммовое соединение
Радиальную относительную деформацию в2 клеммы находят с помощью рабочего тензодатчика РД2, расположенного на боковой поверхности радиально, а окружную относительную деформацию - с помощью рабочего тензодатчика РД3, наклеенного на наружную поверхность клеммы перпендикулярно оси вала 1. Компенсационный тензодатчик КД2 размещают на отдельной недеформируемой стальной пластинке. Рабочие и компенсационный тензодатчики соединяют по полумостовой схеме. При измерениях выводы полумостов подключают к измерителю деформаций типа ЦТИ-1.
Нормальные напряжения в поперечном сечении болта, а также радиальное и окружное в клемме рассчитывают по закону Гука с учетом экспериментально определенных относительных деформаций и модуля упругости материала элемента.
Найденные напряжения болта сравнивают с допускаемым для стали, из которой он изготовлен. Для оценки прочности клеммы вычисляют эквивалентные напряжения по энергетической теории и сравнивают их с напряжением, допускаемым для материала клеммы.
Определение напряжений в головке штока гидроцилиндра
Головка штока гидроцилиндра экскаватора, трактора, землеройной и строительной машины и подъемной установки представляет собой толстостенный цилиндр (толщина стенки больше одной десятой части среднего радиуса).
Головка штока, на которую действует только внутреннее давление рв (рисунок 4.3), в общем случае находится в условиях плоского напряженного состояния. При этом радиальное σr и окружное σt напряжения определяют по формулам:
σr = [pвr2в / (r2н - r2в)]*( 1 - r2н /ρ2)
σr = [pвr2в / (r2н - r2в)]*( 1 + r2н /ρ2),
где rн, rв - соответственно внутренний и наружный радиусы головки; ρ - расстояние от оси симметрии до точки головки, в которой определяют напряжения.
Эквивалентное напряжение равно
σэкв=2рв r2н /( r2н- r2в).
Внутреннее давление определяют как усилие F, действующее на шток, деленное на площадь диаметрального сечения головки штока:
pв=F/[2(rн-rв)b],
где b - ширина головки.
Усилие F рассчитывают по выражению
F=0,25πqd2,
где q и d - рабочее давление и внутренний диаметр гидроцилиндра.
Экспериментально радиальное и окружное напряжения в головке штока гидроцилиндра для привода ковша экскаватора ПЭ-0,8Б определяют в момент внедрения рабочего органа в грунт. При этом для оценки относительной деформации ɛr, вызванной радиальным напряжением, на торцовом сечении головки штока наклеивают рабочий тензодатчик РД2 (база 20 мм, электрическое сопротивление 100 Ом), а для оценки относительной деформации ɛt, вызванной окружным напряжением, на наружной поверхности головки штока наклеивают датчик РД1. Компенсационный тензодатчик КД наклеивают на отдельной пластинке из той же стали, из которой изготовлена головка штока.

Рисунок 4.3 Головка штока гидроцилиндра экскаватора
Радиальное и окружное напряжения вычисляют по закону Гука с учетом экспериментально найденных относительных деформаций и модуля продольной упругости материала головки.
Оценка прочности стенки тонкостенного резервуара
Баки топлива и смазочных масел, устанавливаемые на машинах, представляют собой тонкостенные резервуары. Подобные металлические емкости широко используются в промышленности и в сельском хозяйстве для хранения жидких, газообразных и сыпучих продуктов. Рассмотрим метод экспериментальной оценки прочности тонкостенного цилиндрического резервуара 1 (рисунок 4.4) пневмо- тормозной системы колесного трактора. Средний диаметр цилиндра D, толщина стенки t. В резервуар встроены манометр 2 и кран 3.

Рисунок 4.4 Топливный бак
Любая точка стенки резервуара, находящегося под постоянным давлением q газа, испытывает плоское напряженное состояние, т.е. внутреннее давление стремится разорвать резервуар в сечении, параллельном образующей (напряжение σ1), и в сечении, перпендикулярном его оси (напряжение σ 2). Поэтому для измерения относительных деформаций ɛ1 и ɛ 2, элемента стенки резервуара во взаимно перпендикулярных направлениях на наружной поверхности наклеивают рабочие тензодатчики РД1 и РД2 (база 20 мм, электрическое сопротивление 100 Ом). Термокомпенсационный тензодатчик КД наклеивают на недеформируемой стальной пластинке. Рабочие и компенсационный тензодатчики соединяют по полумостовой схеме и подключают к измерителю деформаций.
Внутри резервуара компрессором создают давление около 1 МПа, измеряют относительные деформации и затем по закону Гука (с учетом модуля продольной упругости материала стенки резервуара) вычисляют напряжения σ1 и σ 2.
Эквивалентные напряжения находят, пользуясь одной из теорий прочности, и сравнивают их с допускаемым напряжением для материала стенки резервуара.
Исследование напряжений в винтовых пружинах
В процессе восстановления ходовой системы строительных, дорожных, землеройных машин и тракторов приходится проверять прочность ответственных цилиндрических пружин под действием максимальных внешних нагрузок.
Экспериментальная установка (рисунок 4.5) состоит из основания 1, стойки 2, жестко соединенной с горизонтальной пружиной 3, заимствованной из конструкции ходовой части гусеничной машины, стального каната 4, перекинутого через блок 5, вращающийся на оси кронштейна 6. Растягивающее усилие F передается на пружину при помощи каната.
При измерениях на поверхности одного из витков пружины под углом 45° к оси его симметрии наклеивают рабочий тензодатчик РД с базой 10-15 мм (базу тензодатчика выбирают, исходя из диаметра проволоки пружины) и электрическим сопротивлением 100 Ом. Па деформируемой стальной пластинке наклеивают термокомпенсационный тензодатчик КД. Рабочий и компенсационный тензодатчики соединяют по полумостовой схеме, выводы которой подключают к измерительному прибору.

Рисунок 4.5 Экспериментальная установка для установления прочности
цилиндрических пружин
Показания прибора фиксируют до и после нагружения пружины. Затем определяют разность показаний и умножают ее на единицу относительных деформаций 10-6 (согласно паспортным данным измерительного прибора).
Таким путем находят максимальное относительное удлинение в точке винтовой пружины. Относительный сдвиг равен удвоенной относительной линейной деформации.
Касательные напряжения от действующей внешней силы рассчитывают как произведение модуля сдвига материала пружины на относительный угловой сдвиг.
Изучение напряжений в стенке толстостенного резервуара
В лабораторных работах в качестве толстостенного резервуара используют резервуар компрессорной установки (рисунок 4.6) с краном 2 и манометром 3. В нем продукт находится под высоким внутренним давлением рВ. Элементарный кубик, выделенный в стенке резервуара 1 - цилиндра внутренним rв и наружным rн радиусами, находится в условиях объемного напряженного состояния. Манометр 3 измеряет давление продукта, подаваемого через кран 2. На гранях кубика действуют окружное σt , радиальное σr и осевое σo напряжения.

Рисунок 4.6 Резервуар компрессорной установки
Для измерения относительной окружной деформации ɛt на наружной поверхности резервуара перпендикулярно образующей цилиндра наклеен рабочий тензодатчик РД1 (база 20 мм, электрическое сопротивление 100 Ом), для измерения относительной осевой деформации ɛ0 параллельно образующей
- тензодатчик РД3, а для измерения относительной радиальной деформации ɛг
- рабочий тензодатчик РД2.
Для размещения тензодатчика РД2 в стенке резервуара 1 сделано радиальное отверстие диаметром 30 мм и приварена трубка 4 диаметром, большим диаметра отверстия, высотой 60 мм. Свободная сторона трубки имеет резьбу для герметичной пробки 5. В нижней части стенки трубки выполнено технологическое отверстие диаметром 3 мм для вывода проводов от тензодатчика РД2.
Компенсационный тензометрический датчик КД наклеен на недеформируемую часть резервуара. Рабочие и компенсационный тензодатчики соединяют во внешние полумосты, выводы которых подключают к измерительным каналам прибора.
После проверки работы тензодатчиков технологическое отверстие в трубке заклеивают эпоксидным клеем.
Во время эксперимента в толстостенном резервуаре создают максимально возможное в практических условиях внутреннее давление. Действительные относительные деформации в стенке резервуара под действием внутреннего давления определяют по сигналам рабочих тензодатчиков на основании принципа независимости действия сил. Напряжения, соответствующие относительным окружной, радиальной и осевой деформациям, вычисляют по закону Гука. Эквивалентные напряжения вычисляют по энергетической теории прочности и сопоставляют с допускаемым напряжением материала резервуара.
Оценка прочности грузового крюка
Практический интерес для будущих инженеров представляет знание напряжений, возникающих в опасном сечении грузового и буксирного крюка под действием внешних сил.
Экспериментальная установка (рисунок 4.7) состоит из основания 1, стойки 2 и соединенного со стойкой при помощи стального каната 3 стандартного грузового крюка 4 грузоподъемностью 10 кН. Внешняя сила F передается на крюк через стальной канат 5, перекинутый через блок 6, который вращается на оси кронштейна 7.

Рисунок 4.7 Экспериментальная установка для определения прочности
грузового крюка
В точке А грузового крюка, где требуется определить напряжение от силы F, наклеивают рабочий тензодатчик РД (база 20 мм, сопротивление 100 Ом), а на отдельной пластинке из той же стали, из которой изготовлен крюк, - тензодатчик КД.
При измерениях цифровые показания прибора фиксируют до и после приложения к крюку внешней силы. Затем вычисляют разность показаний и умножают ее на 10-6. Гак устанавливают действительное относительное удлинение в рассматриваемой точке грузового крюка. Соответствующее ему напряжение находят по закону Гука.
Изучение напряжений в поршневом кольце
В технике широко используются разомкнутые стальные и чугунные кольца: стопорные и поршневые в двигателях внутреннего сгорания. Для обеспечения их надежной работы необходимо знать фактические напряжения, возникающие в опасных точках под действием внешних сил.
Разомкнутое поршневое кольцо двигателя автомобиля ГАЗ - 53 А (рисунок 4.8) снизу жестко закреплено на основании. Под действием внешней силы F наружные волокна кольца растягиваются, а внутренние — сжимаются.

Рисунок 4.8 Разомкнутое кольцо двигателя внутреннего сгорания
Теоретически нормальные напряжения в точке К кольца от действия силы F находят как для консольной балки.
Для экспериментального определения относительной деформации в точке К на наружной поверхности кольца наклеивают рабочий тензодатчик РД (база 20 мм, электрическое сопротивление 100 Ом). Компенсационный тензодатчик КД размещают на отдельной пластинке, выполненной из того же материала, что и кольцо. Рабочий и компенсационный тензодатчики образуют внешний полумост, выводы которого подключают к измерительному прибору.
По показаниям прибора определяют относительные деформации в рассматриваемой точке кольца, а затем по закону Гука вычисляют соответствующие напряжения.
Для оценки фактически возникающего в процессе работы двигателя внутреннего сгорания напряжения в поршневом кольце следует приложить такую силу F, под действием которой в стыке образуется реальный зазор с учетом теплового удлинения [74], и провести соответствующие измерения прибором ЦТИ- 1.
Определение напряжений, возникающих при изгибе отдельных элементов машин
В качестве объектов экспериментального исследования рассмотрим несущие элементы, работающие на изгиб: стойку рабочего органа землеройной машины, зуб зубчатого колеса механической передачи, собачку храпового механизма подъемной установки.
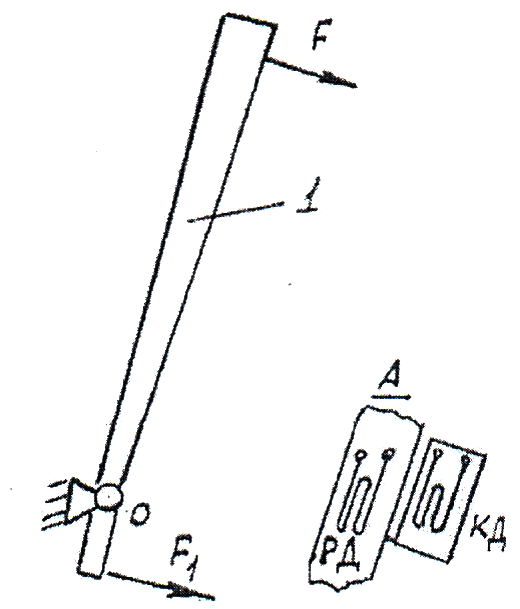
Стойка 1 (рисунок 4.9) рабочего органа землеройной машины изгибается под действием внешней силы F, которая передается на нее канатом 2, перекинутым через блок 3.

Рисунок 4.9 Стойка рабочего органа землеройной машины
В установке для изучения силового воздействия двух соприкасающихся зубьев колес зубчатой передачи (рисунок 4.10) зуб 2 одного из колес закреплен, а зуб 1 другого колеса вращается вокруг неподвижной оси О. Сила в зацеплении создается под действием внешней силы F.
Сила на собачку 2 храпового механизма (рисунок 4.11) передается в момент прекращения движения храпового колеса 1 под действием внешней силы F.

Рисунок 4.10 Зуб зубчатого колеса механической передачи
Стойку рабочего органа, зуб зубчатого колеса и собачку храпового механизма рассчитывают, как консольную балку, работающую на изгиб [62].
Для нахождения относительных деформаций в наиболее опасных точках элементов конструкции наклеивают рабочие тензодатчики РД Компенсационные тензодатчики КД размещают на отдельных недеформируемых пластинках [77]. При этом рабочий и компенсационный тензодатчики в каждой экспериментальной установке соединяют во внешний полумост, выводы которого подключают к измерительному прибору. Во время опыта фиксируют показания прибора до и после действия внешней силы. Затем разность показаний измерителя ЦТИ-1 умножают на 10-6 и находят фактическую относительную деформацию в рассматриваемой точке упругого элемента.
Напряжения, вызванные внешними силовыми факторами, рассчитывают по закону Гука с учетом действительных относительных удлинений, полученных экспериментально в соответствующих точках, и модуля продольной упругости материала элемента конструкции.

Рисунок 4.11 Собачка храпового механизма грузоподъемной установки
Определение напряжений в сжатом стержне
На практике длинные сжатые стержни работают на продольный изгиб. К таким элементам конструкций относятся также штанги систем газораспределения двигателей внутреннего сгорания.
Для экспериментальной оценки напряжений в сжатом стержне служит установка (рисунок 4.12), состоящая из основания 2 (шарнирной опоры), направляющей 3 и испытуемой штанги 1 двигателя внутреннего сгорания. Для определения относительной деформации в точке, находящейся в середине сжатого стержня, параллельно оси наклеивают рабочий тензодатчик РД (база 20 мм, электрическое сопротивление 100 Ом). Компенсационный тензодатчик наклеивают на отдельной пластинке, выполненной из того же материала, что и штанга. Тензометрические датчики образуют внешний полумост. Выводы его подключают к измерителю деформаций.
Во время опытов сначала записывают показания прибора до нагружения стержня сжимающей силой. После приложения силы F снова фиксируются показания измерителя. Умножая разность показаний до и после нагружения штанги на единицу относительной деформации, определяют действительную относительную деформацию в рассматриваемой точке сжатого стержня. Соответствующие напряжения рассчитывают по закону Гука.

Рисунок 4.12 Сжатый стержень
При проведении эксперимента обучающиеся могут оценить влияние сжимающей стержень силы на характер напряженного состояния элемента конструкции: при силах, меньших некоторой критической, происходит простое сжатие, а при силах, равных критической, наблюдается продольный изгиб, при котором элемент конструкции может разрушиться из-за потери устойчивости.
Оценка прочности вала при его одновременном изгибе и кручении
Установка для экспериментального изучения напряженного состояния вала при сложном нагружении (рисунок 4.13) состоит из стойки 1 и жестко соединенного с ней коленчатого вала 2. Плоскость симметрии вала горизонтальна, а сам он при измерениях деформируется под действием внешней вертикальной силы F, симметрично приложенной к свободному концу вала.
Для измерения относительной деформации от изгибающего момента в наиболее опасной точке, находящейся на наружной поверхности вала близко к сечению закрепления, в этом месте наклеивают рабочий тензодатчик РД1. Максимальную относительную линейную деформацию, вызываемую крутящим моментом от действия силы F, определяют при помощи датчика РД2, размещаемого на наружной поверхности вала под углом 45° к образующей [91]. Компенсационный тензодатчик располагают на недеформируемой части установки.

Рисунок 4.13 Установка для экспериментального изучения напряженного состояния вала
По экспериментальным данным, полученным от измерителя деформаций ЦТИ-1, по закону Гука вычисляют нормальные напряжения при изгибе.
Относительный сдвиг от крутящего момента определяют по сигналам датчика РД2 путем удвоения относительной линейной деформации.
Касательные напряжения, соответствующие относительному сдвигу, вычисляют по закону Гука при кручении с учетом модуля сдвига материала коленчатого вала.
В опасной точке нагруженной коленчатой оси имеет место плоское напряженное состояние, поэтому эквивалентные напряжения находят по третьей теории прочности.
Определение напряжений в статически неопределимой балке
В качестве объекта изучения принят поперечный несущий элемент 1 (рисунок 4.14) с боковинками 2 и 3 подъемной лестницы зерноуборочного комбайна. Несущий элемент 1 является статически неопределимой балкой с защемленными опорами.

Рисунок 4.14 Аналог статически неопределимой балки

Рисунок 4.15 Рычаг руля гусеничного трактора
Для изучения относительной деформации, вызванной изгибом балки от действия внешней силы в зоне его растяжения приклеен рабочий тензометрический датчик РД. Компенсационный тензометрический датчик КД размещен на отдельной, не испытывающей упругие деформации, стальной пластинке. Рабочий тензометрический датчик полностью копирует упругие деформации самой балки.
Изучение деформации изгиба консольных балок
Экспериментальной установкой являются рулевой рычаг 1 гусеничного трактора (рисунок 4.15) и ножной рычаг 1 управления тормозами колесного трактора (рисунок 4.16). При воздействии оператора на рычаги последние представляют собой консольные балки и изгибаются. Для определения относительной деформации при нагружении в непосредственной близости от шарниров вращения 2 параллельно оси симметрии рычага размещаются рабочие тензометрические датчики РД. Компенсационные датчики КД устанавливаются на отдельных стальных пластинках.
Определение напряжений в звене цени цепной передачи
Боковая пластинка звена цепи в процессе работы испытывает деформацию растяжения. Для измерения действительной относительной линейной деформации боковой несущей пластины 1 (рисунок 4.17) параллельно её оси приклеен рабочий тензометрический датчик РД. Компенсационный тензометрический датчик КД размещен рядом на отдельной пластинке.
Изучение напряжений в нагруженном металлорежущем инструменте (сверло, метчик)
На рисунке 4.18 представлена экспериментальная установка, которая состоит из неподвижно установленного в приспособлении 3 металлорежущего станка инструмента 2. Заготовка 1 вращается с угловой скоростью.

Рисунок 4.16 Рычаг тормоза колесного трактора
Рисунок 4.17 Элемент звена цепи цепной передачи
Инструмент со скоростью перемещается в сторону заготовки и внедряется в него в процессе технологической операции. При этом металлорежущий инструмент сжимается и подвергается кручению.
Для определения относительной деформации инструмента от сжатия на его наружной поверхности приклеен рабочий тензометрический датчик РД. Для определения максимальной относительной деформации при кручении под углом 45° к образующей круглого инструмента приклеен рабочий тензометрический датчик РД. Компенсационный датчик КД размещен на отдельной недеформируемой пластинке. От действия сжимающей силы в поперечном сечении стержня инструмента возникают нормальные напряжения, а от действия скручивающего момента - касательные напряжения.
Изучение напряжений в элементах силового гидроцилиндра
Экспериментальная установка представляет собой силовой гидроцилиндр (рисунок 4.19) колесного трактора сельскохозяйственного назначения. Шток 3 гидроцилиндра работает на сжатие. Для нахождения относительной деформации на цилиндрической поверхности параллельно оси приклеен рабочий тензометрический датчик РД. Прямоугольный элемент, выделенный из стенки гидроцилиндра, под действием внутреннего давления находится в условиях плоского напряженного состояния: напряжение σ1 стремится разорвать цилиндр по образующим, а напряжение σ2 - в плоскости, перпендикулярной оси гидроцилиндра.
Для нахождения относительной деформации по взаимно - перпендикулярным направлениям на поверхности цилиндра размещены рабочие тензометрические датчики РД1 и РД2. Компенсационный тензометрический датчик КД приклеивается на отдельной стальной пластинке и деформациям не подвергается.
Во всех экспериментальных установках тензометрические датчики имеют базу 15 мм и электрическое сопротивление 100 Ом. Рабочие и компенсационный тензометрические датчики образуют внешние полумосты и их выводы соответствующим образом включаются к цифровому измерителю упругих деформаций типа ЦТИ - 1.

Рисунок 4.18 Экспериментальная установка для изучения нагружения
металлорежущего инструмента

Рисунок 4.19 Силовой гидроцилиндр, подготовленный к измерениям
Измерения проводятся в следующей последовательности. Вначале цифровые сигналы рабочих тензометрических датчиков фиксируются до приложения внешней нагрузки. Затем упругий элемент установки нагружается внешней силой и сигналы рабочих тензометрических датчиков записываются снова, найденная разность показаний прибора соответствующего рабочего тензометрического датчика умножается на удвоенное число единицы относительной деформации - 2 х 10-6. Относительный сдвиг равен удвоенному значению относительной линейной деформации. Нормальное и касательное напряжения определяются по закону Гука путем умножения величины соответствующих относительных деформаций на модули продольной и поперечной деформаций.
Определение напряжений в стенке нагруженной буровой трубы
Экспериментальная установка (рисунок 4.20) представляет собой герметично закрытую часть буровой трубы высотой Н, равной 0,6 м, с краном 3 и встроенным манометром 2. Несущий элемент 1 экспериментальной установки, как модель буровой трубы, испытывает сложное сопротивление: в произвольной точке стенки толстостенного цилиндра от действия внешнего скручивающего момента Т, создаваемого в трубе действующим моментом пары сил, возникают касательные напряжения; вертикально действующая сила вызывает центральное сжатие, либо продольный изгиб; внутреннее давление обуславливает появление окружного, радиального и осевого напряжений как в случае толстостенного резервуара, находящегося под действием внутреннего давления [41, 90].
С целью экспериментального определения относительных деформаций в точке стенки толстостенного цилиндра на основании принципа независимости действия внешних сил в интересующих точках размещаются тензометрические датчики сопротивления. Например, тензодатчик РД4, приклеенный на поверхности трубы под углом 45 градусов к образующей, предназначен для измерения относительной линейной деформации от крутящего момента. Относительную окружную деформацию от действия внутреннего давления фиксирует рабочий тензодатчик РД1, наклеенный перпендикулярно образующей. Тензодатчик РД2, приклеенный радиально на стенке специально просверленного отверстия, определяет величину относительной деформации в радиальном направлении от действия внутреннего давления.

Рисунок 4.20 Модель нагруженной толстостенной буровой трубы
Технология изготовления отверстия и размещения тензодатчика РД2 такая же, как и в толстостенном резервуаре (рисунок 3.98). Компенсационный тензодатчик КД приклеен на отдельной стальной пластинке. Рабочие и компенсационный датчики образуют внешние полумосты, выводы которых соединяются к измерителю деформаций ЦТИ-1. При этом каждый рабочий датчик соединяется отдельным измерительным каналом прибора.
Эквивалентные напряжения находятся по энергетической теории прочности и теории наибольших касательных напряжений и сравниваются с допускаемым напряжением материала трубы.
Применение в качестве объектов исследований реальных деталей обеспечивает углубленное экспериментальное изучение сопротивления материалов и позволяет глубже разобраться в вопросах создания условий надежной работы как самих деталей, так и строительно-дорожной, сельскохозяйственной, мелиоративной и другой техники в целом.